近日,在某视频网站发布的小视频中惊现“粥杰伦”。出于职业惯性,笔者查询了该名称的商标注册情况。果不其然,“粥杰伦”这一词最早在2006年1月13日就被一位叫董强的人申请注册了。既然“粥杰伦”和“饭特稀”都早已出现,“菜依林”还会远吗?那必然不会,因为已经出现了……
冷空气已经猝不及防地刮来了,寒冬中,一杯热粥便能驱寒。花生红枣粥、黑米八宝粥、桂圆糯米粥、牛奶燕麦粥、小米南瓜粥……以及最近寒风中又出现了一个“粥中贵族”:粥杰伦。虽然没有尝过这“粥杰伦”的风味,不过他的真面目大家还是可以品一品的……

看到这张图的第一反应,还真不知道说点什么好能配得上卖家的“良苦用心”。据微博上的小视频了解到,该粥铺卖家车上摆放着牛奶燕麦和粥杰伦plus,真别说,“粥杰伦plus”混入其中还真像那么回事儿。
让人好奇的问题来了:这么吸引人眼球的粥,这么吸引人眼球的杰伦,是否有人已经为他申请了商标呢?心动不如行动,笔者去搜索了一探究竟:

果然,大家真是相当有想法啊。“粥杰伦”这一词最早在2006年1月13日就被一位叫董强的人申请注册了。

申请人董强于2016年1月13日申请的第43类5115595号商标,商品服务类别为养老院;日间托儿所(看孩子);动物寄养等。商标状态为已注册,专用权期限为2009年10月21日 至 2019年10月20日。不过这件商标看起来和粥没有多大的关系,与粥关系较大的是申请人董强注册的另一件:

同日申请注册在第30类5115596号商标,服务类别包括加奶咖啡饮料; 茶饮料; 糖; 龟苓膏; 甜食; 粥; 方便面; 大米花; 冰淇淋; 佐料(调味品)。都是食物,算是和粥有了那么一点点关系。
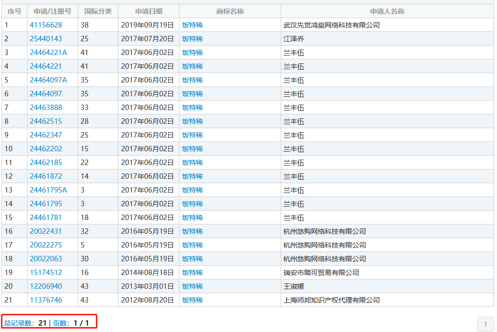
看来,“粥杰伦”也不能说是粥铺卖家的首创了,其实早已有人在脑海中将周杰伦的名字翻腔倒海了一番。不过不知道周杰伦本人看了,会是什么反应……倒是有些网友看了之后调侃说,或许也可以叫“饭特稀”。(《范特西》是周杰伦2001年发行的专辑)

然而“饭特稀”也没有逃过大家的慧眼,几年前就被人申请注册。不得不说,周杰伦宛如一个行走的商标侠,不知道未来还有多少稀奇古怪的商标能从周杰伦的身上挖掘出来。且不谈未来,就说说今年,周杰伦在知识产权方面也已经算涉猎广泛了。
前段时间,周杰伦新歌《说好不哭》上线之后,火爆网络。除了新歌本身,关于《说好不哭》MV中的各种商标彩蛋(周杰伦《说好不哭》的“商标彩蛋”,已被他人注册为商标!(点击标题可直接查看))、以及MV剧情疑似抄袭韩国女子组合KISS的MV《因为是女子》(惊呆!周杰伦新歌《说好不哭》MV被爆抄袭?(点击标题可直接阅读))等消息也引起了大家的广泛关注。今年十一月初,中国裁判文书网还公布了腾讯音乐娱乐科技(深圳)有限公司与杭州网易云音乐科技有限公司、杭州乐读科技有限公司录音录像制作者权权属纠纷一审民事判决书。腾讯音乐就周杰伦音乐版权纠纷起诉网易云音乐,一审获赔经济损失及制止侵权的合理开支共计85万元。(周杰伦音乐版权案判赔85万!腾讯授权费三年涨948万(附:判决书)(点击标题可直接阅读))
讲真,当明星不容易,做个像周杰伦这样的明星就更别说了。一方面不仅要在演艺事业上做出一番成就,另一边,知识产权各方面的保护也是不能落下。前有“渣渣辉”,后又有“粥杰伦”,噫吁嚱,蜀道之难难于上青天,明星之难难于知识产权保护。这种与明星名字谐音有关的商标其实不在少数,一方面确实能够利用明星自身的热度给自己的品牌带来一些效益,但是商标能不能注册成功就要另说了。就拿刚刚的几件“粥杰伦”商标来说,已经注册成功也就只有其中一件。
不知道未来还有多少“蹭热度”的明星牌食品,那既然“粥杰伦”和“饭特稀”都早已出现,“菜依林”还会远吗?那必然不会,因为已经出现了……

然而微博网友的一条留言更是惊呆众人:“锅的钢,沸浴清,莫闻味,贩冰冰,锅富城,潘尝姜,溜得滑,泄停封,金喜膳”。

不得不说,笔者头一次默念评论念得如此一字一句、抑扬顿挫、铿锵有力……最后,笔者还是奉劝各位商标申请者,商标的申请上,只要不违背商标法,您奇思妙想出的牛鬼蛇神尽管放马过来,大家墙都不扶了就服你。
来源:IPRdaily
便捷链接:“粥杰伦”商标已经出现
本文来源:网络?买卖商标注册授权入驻“天猫”“京东”“拼多多”“抖音头条”“商标百科”
版权说明:上述为转载或编者观点,不代表亿佰倍懂商标意见,不承当任何法律责任
亿佰倍懂商标官方微信
欢迎关注亿佰倍懂
微信号:K58158 热门TAGS
购买上海商标 商标复审 商标撤三答辩 商标驳回复审 国际商标驳回 知名商标转让 白酒商标网 19类商标转让 18类商标转让 17类商标转让 16类商标转让 15类商标转让 14类商标转让 13类商标转让 11类商标转让 12类商标转让 10类商标转让 9类商标转让 8类商标转让 7类商标转让 6类商标转让 5类商标转让 4类商标转让 3类商标转让 2类商标转让 1类商标转让 T恤商标转让 红酒商标转让 黄酒商标转让 水饺商标转让 糖果商标转让 闲置商标转让 商标购买网站 月饼商标转让 购买月饼商标 购买牛奶商标 牛奶商标转让 购买餐饮商标 餐饮商标转让 啤酒商标转让 购买啤酒商标 购买酒类品牌 酒类品牌转让 购买饮料商标 饮料商标转让 食品商标转让 购买食品商标 购买镀膜商标 镀膜商标转让 机油商标转让 购买机油商标 头枕商标转让 购买头枕商标 车衣商标转让 购买车衣商标 购买车贴商标 车贴商标转让 凉垫商标转让 睡袋商标转让 包子商标转让
联系方式
【商标网】
企业QQ:1728988888
手机: 18211558558
官方微信:K58158
广东(总部)北京(分部)深圳(分部)

*截止
,共有人阅读了本文。


40
加工服务