全部服务分类
  • 商标注册1专区

  • 申请商标专区

  • 商标套餐专区

  • 白酒商标转让专区

  • 商标转让专区

  • 版权登记专区

  • 城市商标注册专区

  • 中国商标转让专区

more

罗永浩变身鲨纹科技合伙人,商标却被别人抢注

*截止 ,共有人阅读了本文。

推荐阅读:罗永浩变身鲨纹科技合伙


  自打离开锤子科技后,罗永浩的去向一直是公众关注的焦点,早前听闻罗永浩进军电子烟行业,转眼又成了Sharklet 鲨纹科技的全球合伙人。

  

罗永浩变身鲨纹科技合伙人,商标却被别人抢注了?


  罗永浩回归遭丁香园质疑,核心商标被他人抢注?

  对于Sharklet (鲨纹科技),大家可能比较陌生,一品君在这里给大家介绍一下,它是一家成立于2007年的企业,专门生产鲨纹抗菌材料,适用于医疗、餐饮、母婴、数码等多个领域。

  罗永浩在不久前举办的“老人与海”黑科技发布会上,疯狂安利Sharklet公司及其产品。

  

罗永浩变身鲨纹科技合伙人,商标却被别人抢注了?


  罗永浩回归遭丁香园质疑,核心商标被他人抢注?

  没想到第二天就遭到丁香园的打脸!

  12月4日,丁香园发布了一篇文章《用了抑菌材料做的背包,就不会感染疾病吗?可能对细菌有些误解……》,在网上引起热议,一时之间也带火了“Sharklet ”商标。

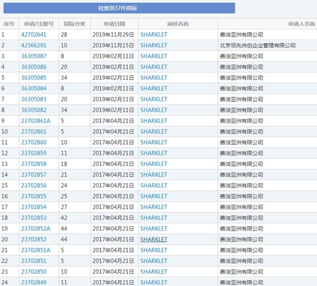
  当前查询会发现,有37件“Sharklet”商标被申请注册,其中商标申请量较为突出的是一家香港公司——善洁亚洲有限公司,目前暂不知晓是否与罗永浩有关系。

  

罗永浩变身鲨纹科技合伙人,商标却被别人抢注了?


  罗永浩回归遭丁香园质疑,核心商标被他人抢注?

  值得一提的是,善洁亚洲有限公司申请注册在第5类(细菌抑制剂等)、第42类(材料测试等)、第44类(健康咨询等)商品或服务上的“Sharklet”商标,由于与他人在先注册的“Sharklet”商标在文字构成、排列顺序等方面构成近似,均已被驳回。

  

罗永浩变身鲨纹科技合伙人,商标却被别人抢注了?


  罗永浩回归遭丁香园质疑,核心商标被他人抢注?

  善洁亚洲有限公司不服商标局的驳回决定,向商标局提起驳回复审。原商标评审委员会于2018年8月作出决定,除了对一件第44类“Sharklet”商标予以初步审定外,对其他的四件第5类、第42类“Sharklet”商标注册申请仍然予以驳回。

  商标注册宜早不宜晚,晚了一步,很有可能心仪的商标就被别人抢走了,如果你还没有申请商标,现在就有一个好机会!一品知识产权为了回馈广大客户多年来的支持,将于双十二当天(2019.12.12)推出商标注册超值优惠活动:

罗永浩变身鲨纹科技合伙人,商标却被别人抢注了?

  这是今年最后一波注册福利,机会难得,千万别错过!

  想要参与活动的小伙伴,可以提前报名预约,名额有限先到先得哟~



上一篇:丁俊晖再夺英锦赛冠军,已注册第28类商标
下一篇:判决书公开 网易云下架周杰伦歌曲原因是啥


亿佰倍懂商标官方微信

欢迎关注亿佰倍懂

亿佰倍懂 微信号:K58158

热门TAGS


购买上海商标 商标复审 商标撤三答辩 商标驳回复审 国际商标驳回 知名商标转让 白酒商标网 19类商标转让 18类商标转让 17类商标转让 16类商标转让 15类商标转让 14类商标转让 13类商标转让 11类商标转让 12类商标转让 10类商标转让 9类商标转让 8类商标转让 7类商标转让 6类商标转让 5类商标转让 4类商标转让 3类商标转让 2类商标转让 1类商标转让 T恤商标转让 红酒商标转让 黄酒商标转让 水饺商标转让 糖果商标转让 闲置商标转让 商标购买网站 月饼商标转让 购买月饼商标 购买牛奶商标 牛奶商标转让 购买餐饮商标 餐饮商标转让 啤酒商标转让 购买啤酒商标 购买酒类品牌 酒类品牌转让 购买饮料商标 饮料商标转让 食品商标转让 购买食品商标 购买镀膜商标 镀膜商标转让 机油商标转让 购买机油商标 头枕商标转让 购买头枕商标 车衣商标转让 购买车衣商标 购买车贴商标 车贴商标转让 凉垫商标转让 睡袋商标转让 包子商标转让

联系方式

【商标网】
企业QQ:1728988888
手机: 18211558558
官方微信:K58158
广东(总部)北京(分部)深圳(分部)