全部服务分类
  • 商标注册1专区

  • 申请商标专区

  • 商标套餐专区

  • 白酒商标转让专区

  • 商标转让专区

  • 版权登记专区

  • 城市商标注册专区

  • 中国商标转让专区

more

京东推出知识产权保护平台,早已提前保护商标

*截止 ,共有人阅读了本文。

推荐阅读:京东推出知识产权保护平


  随着知识产权的地位不断提升,很多企业都开始保护知识产权,比如说阿里、腾讯、京东等等。近日,京东与中国文化传媒集团联合推出“氢舟”数字资产产权服务平台,利用区块链对知识产权进行保护。

京东推出知识产权保护平台,早已提前保护商标!

  “氢舟”是数字资产知识产权确权、维权、交易的一站式服务平台,可以将数字资产产权流转中的全链条服务整合到一个平台上,搭建起完整的服务体系。

  用户可以通过证书以及服务体系对版权授权链的记录,在氢舟平台直接线上发起维权服务申请,平台专业的维权团队全程进行维权处理。

京东推出知识产权保护平台,早已提前保护商标!

  氢舟已打通北京和广州的互联网法院平台,后续将会接入更多权威机构,并且还将接入更多第三方版权素材库,扩大交易市场范围。

  目前, “氢舟”正在试运营阶段,正式启用需要等到明年2月份。

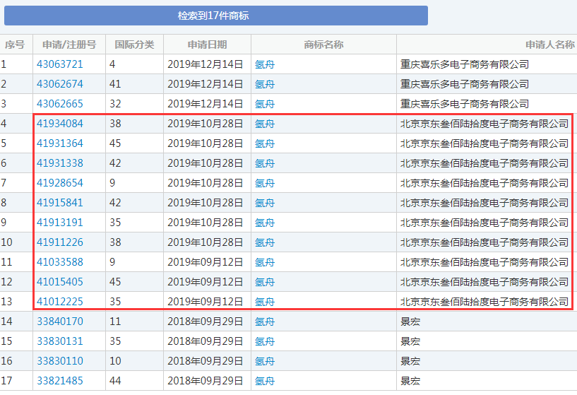
  在该平台落地之前,京东就申请了多件“ 氢舟”商标,涵盖9、35、38、42等主要类目。

京东推出知识产权保护平台,早已提前保护商标!

  从保护品牌商标,到保护用户的知识产权,不得不说,京东的保护意思真的很强,值得我们学习。你保护商标了吗,如果没有,来一品知识产权申请保护吧~



上一篇:商标不予受理,该这么办?
下一篇:《精英律师》败给“知识产权”?


亿佰倍懂商标官方微信

欢迎关注亿佰倍懂

亿佰倍懂 微信号:K58158

热门TAGS


购买上海商标 商标复审 商标撤三答辩 商标驳回复审 国际商标驳回 知名商标转让 白酒商标网 19类商标转让 18类商标转让 17类商标转让 16类商标转让 15类商标转让 14类商标转让 13类商标转让 11类商标转让 12类商标转让 10类商标转让 9类商标转让 8类商标转让 7类商标转让 6类商标转让 5类商标转让 4类商标转让 3类商标转让 2类商标转让 1类商标转让 T恤商标转让 红酒商标转让 黄酒商标转让 水饺商标转让 糖果商标转让 闲置商标转让 商标购买网站 月饼商标转让 购买月饼商标 购买牛奶商标 牛奶商标转让 购买餐饮商标 餐饮商标转让 啤酒商标转让 购买啤酒商标 购买酒类品牌 酒类品牌转让 购买饮料商标 饮料商标转让 食品商标转让 购买食品商标 购买镀膜商标 镀膜商标转让 机油商标转让 购买机油商标 头枕商标转让 购买头枕商标 车衣商标转让 购买车衣商标 购买车贴商标 车贴商标转让 凉垫商标转让 睡袋商标转让 包子商标转让

联系方式

【商标网】
企业QQ:1728988888
手机: 18211558558
官方微信:K58158
广东(总部)北京(分部)深圳(分部)